I often consult with upstream manufacturers. The product I produce is a hardware component, not an electrical one. Because it will be purchased by users to be matched with instruments and equipment, t……
What are the requirements for samples when applying for an explosion-proof certificate for electrical equipment? The requirements for applying for an explosion-proof certificate (domestic explosion-pr……
The basic definition of associated equipment refers to electrical devices that are equipped with energy limiting circuits and non energy limiting circuits, and whose structure ensures that non Zhongnu……
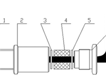
Introduction device, also known as incoming line device, is a transitional device for wires or cables of external circuits to enter explosion-proof electrical equipment. The introduction device is oft……
In the field of explosion-proof certification technology, the application of explosion-proof technology in various oil and gas locations is quite extensive, especially in various fuel dispensers, fuel……
In explosion-proof certification, there are many professional terms, such as glass components in explosion-proof, which are called transparent components. For example, the screws and nuts that fix the……
The application of explosion-proof cameras in explosive hazardous areas. Explosion proof cameras are mainly used in hazardous areas with flammable and explosive materials. The country has a clear defi……
The function of explosion-proof electric actuators is that electric actuators are essential equipment for achieving valve program control, automatic control, and remote control. Its movement process c……
With the increasing emphasis on industrial safety, more and more ordinary industrial products are improving towards explosion-proof products. Ordinary products that meet explosion-proof standards must……